Продукция Макита от официального дилера
Задать вопрос
ruua
С 8:30 до 17:00,
сб., вс. – выходной
 0
года гарантииБесплатная доставка от 3000 грн.Различные варианты оплаты

2412N Макита

Запчасти для модели 2412N
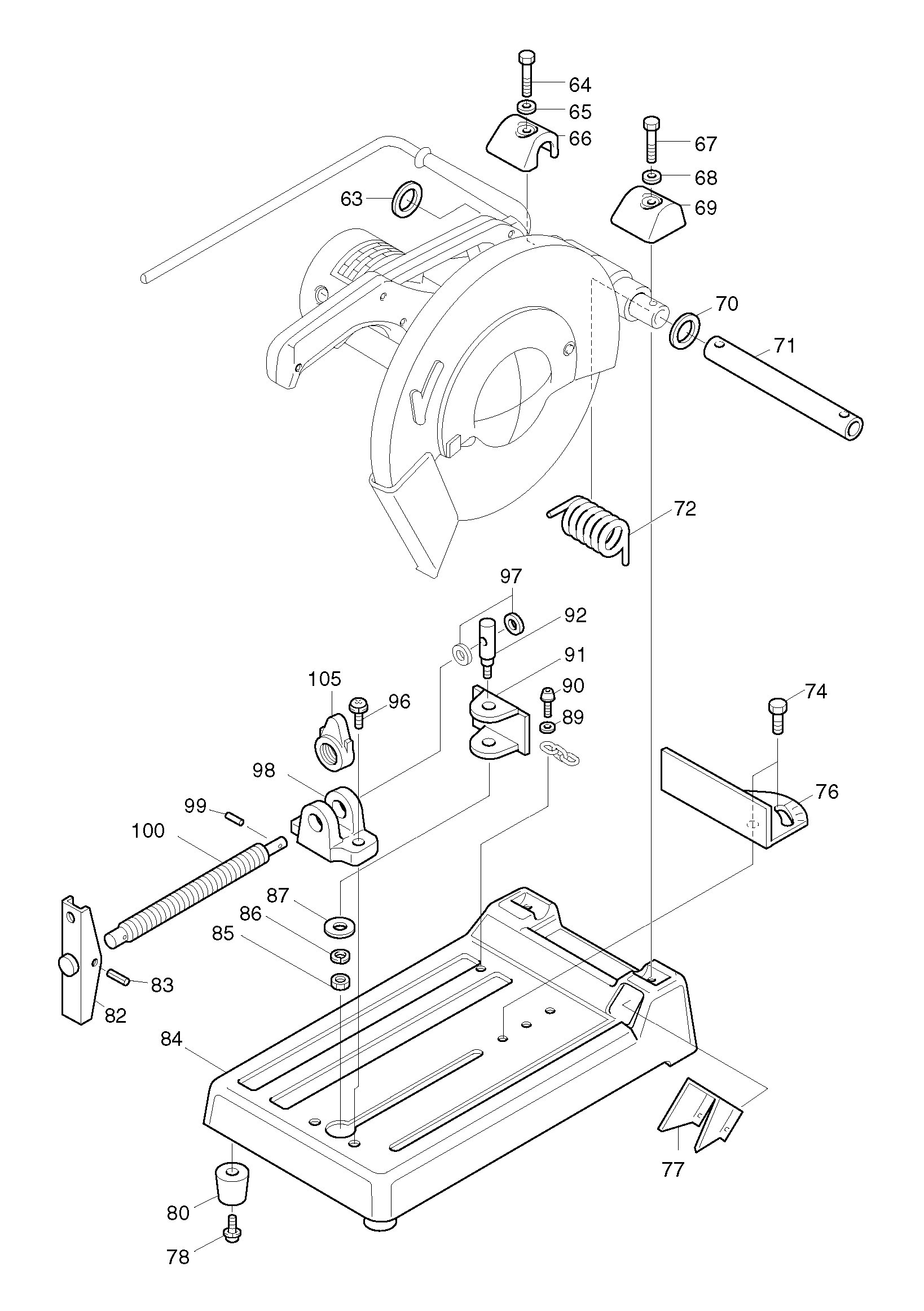
No.НазваниеКод деталиКод(старый)Цена
1Винт M4X25911148-25 грнВ КОРЗИНУ
2Винт M4X25911148-25 грнВ КОРЗИНУ
3Винт M5X50 к HR2400/2414/5016/911273-919 грнВ КОРЗИНУ
4Винт M5x30 к 1805B/2414/2704/911253-519 грнВ КОРЗИНУ
5Винт M4X25911148-25 грнВ КОРЗИНУ
6HANDLE SET181149-6под заказВ КОРЗИНУ
7Винт M4X18 к 1911B911133-510 грнВ КОРЗИНУ
8Держатель кабеля для BO4550/687031-2687001-1под заказВ КОРЗИНУ
9Усилитель кабеля 12-200682507-473 грнВ КОРЗИНУ
10Кабель резиновый 1.00-3-2.5665231-4под заказВ КОРЗИНУ
11PAN HEAD SCREW M6X20911334-5под заказВ КОРЗИНУ
12Крючок для 2412N/2414/LC1230/322049-332 грнВ КОРЗИНУ
13Болт-барашек M5X10 к 3612 BR/924206-521 грнВ КОРЗИНУ
14Шайба Гровера 5 к 1100/3708F/942101-710 грнВ КОРЗИНУ
15Стопорная пластина 2412N/14K341395-5под заказВ КОРЗИНУ
16Шестигранная гайка M6 HR2400/931302-210 грнВ КОРЗИНУ
17Шестигранная гайка M6 HR2400/931302-210 грнВ КОРЗИНУ
18Шайба Гровера 6 к 2400B/2412N/942151-25 грнВ КОРЗИНУ
19Плоская шайба 6253011-610 грнВ КОРЗИНУ
20Цепь282013-5под заказВ КОРЗИНУ
21Болт с шестигранной гол. M6X18265380-3под заказВ КОРЗИНУ
22Заклёпка 0-5 для 4110C/1901/953106-25 грнВ КОРЗИНУ
23NAME PLATE 2412N815053-4под заказВ КОРЗИНУ
24Задняя крышка корпуса двигател284010-7под заказВ КОРЗИНУ
25Выключатель HPAHR2-3S HK1820L/651018-0624 грнВ КОРЗИНУ
26Винт M5X12 для KP312S/5500S/911211-119 грнВ КОРЗИНУ
27Фильтр помех 1100/2708/LS1013/645185-1645105-5под заказВ КОРЗИНУ
28Винт M4X6 1805B/LC1230/2412N/911103-410 грнВ КОРЗИНУ
29Резиновая шпилька 4263002-910 грнВ КОРЗИНУ
30Колпачок щеткодерж-ля 6.5-13.5643650-421 грнВ КОРЗИНУ
31Угольные щетки CB-153181044-0115 грнВ КОРЗИНУ
32Корпус двигателя к 2412N/2414156419-2под заказВ КОРЗИНУ
33Изоляционная шайба681002-1под заказВ КОРЗИНУ
34Защита статора на 2412N/2414/К343299-7под заказВ КОРЗИНУ
35Подшипник 10/30211066-7150 грнВ КОРЗИНУ
36Пыльник 10213051-634 грнВ КОРЗИНУ
37Cтатор в сборе для 2412N/2414524493-24216 грнВ КОРЗИНУ
38Винт M5X85911938-345 грнВ КОРЗИНУ
39Pотор в сборе для 2412N/2414514543-15575 грнВ КОРЗИНУ
40Крыльчатка 92 для 2412N/2414NB241054-0под заказВ КОРЗИНУ
41Пыльник 15 HM1200/2412N/2414/213202-139 грнВ КОРЗИНУ
42Подшипник 15/35211228-7211206-7под заказВ КОРЗИНУ
43SAFETY COVER COMPLETE155342-8под заказВ КОРЗИНУ
44Шпиндель к 2412N/2414325517-52822 грнВ КОРЗИНУ
45Сегментная шпонка 5254032-1под заказВ КОРЗИНУ
46Подшипник 6204LLB211306-3376 грнВ КОРЗИНУ
47Резиновая шпилька 6263005-310 грнВ КОРЗИНУ
48Резиновая шпилька 4263002-910 грнВ КОРЗИНУ
49Компрессионная пружина 7231240-119 грнВ КОРЗИНУ
50Упор для 2412N/2414/2414K325518-3под заказВ КОРЗИНУ
51О-кольцо 35 резиновое213460-921 грнВ КОРЗИНУ
52Корпус редуктора157331-9под заказВ КОРЗИНУ
53Подшипник 10/26211061-7150 грнВ КОРЗИНУ
54Стопорное кольцо S-20 HR4000C/961060-619 грнВ КОРЗИНУ
55Косозуб.шестерня 54 2412N/2414221628-3646 грнВ КОРЗИНУ
56Корпус подшипника 2414/N/К157026-4под заказВ КОРЗИНУ
57Плоская шайба 20 2412N/3414K253755-8под заказВ КОРЗИНУ
58Винт M5X55911276-316 грнВ КОРЗИНУ
59Внутренний фланец 100224139-7под заказВ КОРЗИНУ
60Кольцо 20 для 2412N/2414/4110C257054-097 грнВ КОРЗИНУ
61Наружный фланец 100224140-2под заказВ КОРЗИНУ
62Болт с шестигранной гол.M10X25251680-772 грнВ КОРЗИНУ
63Внутренний фланец 100 4110C/224184-2705 грнВ КОРЗИНУ
64Крыльчатка 92 для 2412N/2414NB241515-0137 грнВ КОРЗИНУ
65Корпус двигателя к 2412N/2414156409-5под заказВ КОРЗИНУ
66NAME PLATE 2412N859377-8под заказВ КОРЗИНУ
67Прижимная пластина к HR2450/687052-419 грнВ КОРЗИНУ
68Самонарезающий винт 4X18265995-610 грнВ КОРЗИНУ
69Рукоятка в сборе к 2412N182751-8под заказВ КОРЗИНУ
88Плоская пружина232047-8под заказВ КОРЗИНУ
93деталь342497-0под заказВ КОРЗИНУ
94Плоская шайба 12253052-219 грнВ КОРЗИНУ
95Соединитель для 2412N/2414342496-2под заказВ КОРЗИНУ
96Плоская шайба 8253731-219 грнВ КОРЗИНУ
101Стопорное кольцо E-6 к BLS820/961012-710 грнВ КОРЗИНУ
102Ручка-регулятор 20 2412N/2414271607-1под заказВ КОРЗИНУ
103Шпилька 8256614-536 грнВ КОРЗИНУ
106Этикетка с эмблемой Макита M819064-154 грнВ КОРЗИНУ
113HANDLE SET181149-6под заказВ КОРЗИНУ
114Рукоятка в сборе к 2412N182751-8под заказВ КОРЗИНУ
116О-кольцо 16 резиновое 2414/12N213218-65 грнВ КОРЗИНУ
400Торцовый ключ 17782210-874 грнВ КОРЗИНУ
401CUT-OFF WHEEL 305-NO.10792186-1под заказВ КОРЗИНУ
500Зажим в сборе для 2412N/2414K134548-1под заказВ КОРЗИНУ
Фото 2412N
Нажмите, чтобы увеличить